Барабанный вакуум-фильтр (вакуумный фильтр) — это оборудование, используемое для фильтрации жидкостей, имеющих высокое содержание сухого остатка. Cистема фильтрации очищается механически
Механический вакуумный фильтр применяется в горнодобывающей промышленности для отделения ценных пород от обыкновенного грунта, используются в основном ленточные типы с высокой производительностью. Дисковые и барабанные аналоги эксплуатируются на производстве для эффективного обезвоживания суспензий со слабо осаждающимися составляющими. Также вакуум-фильтр нашел свое применение в химической, пищевой, фармацевтической промышленности и в системах очистки сточных вод
Барабанный вакуумный фильтр обладает высокой эффективностью очистки до 75%
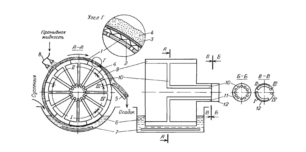
Устройство вакуум-фильтра не отличается сложностью и состоит из нескольких узлов
Цилиндрический барабан, вращающийся на валу в горизонтальной плоскости, часть его конструкции погружена в ванну с мелкозернистым осадком, который нужно обезвоживать с циклической постоянностью. В свою очередь стенки барабанной конструкции составлены из двух слоев: наружный — в виде сетки или частых отверстий, обтянут фильтрующей тканью, внутренний — сплошной. В средней части находится полое пространство, которое разделяется на сектора, куда подведены коллекторы для отвода фильтрата
Вращение барабана осуществляется с такой скоростью, что все сектора последовательно проходят через нижнюю точку около дна ванны и захватывают взвешенный в жидкости ил. Руководит движением конструкции распределительная головка
Наши специалисты помогут подобрать оптимальное решение и расскажут вам о сроках изготовления и доставки
2 производственные площадки
позволяют изготавливать оборудование из различных металлов и пластиков для очистных сооружений хозяйственно-бытовых и ливневых сточных вод и для комплексов очистки промышленных сточных вод предприятий самых разных отраслей
Компания ГК ГЕОН предлагает барабанные сита любого исполнения и комплектации. Возможно изготовление по любым требованиям заказчика (AISI 304, 316, 321. Щелевое / Перфорированное сито, Для горячего стока, Взрывозащита, Утепление)
Мы готовы предоставить комплексное решение, включающее в себя вакуумные насосы, насосы для подачи воды и суспензии, ресиверы для фильтрата, трубную обвязку с арматурой, а также систему управления и автоматизации процесса
Оборудование может быть поставлено в блочно-модульном исполнении на единой раме
Барабанный фильтр устанавливается над емкостью для суспензии с механической мешалкой для предотвращения оседания твердых частиц. Во время работы барабан частично погружается в суспензию, и при вращении выполняются следующие операции:
Фильтрование
Задержание осадка тканью фильтра происходит следующим образом: ячейка фильтра погружается в суспензию, фильтрат проходит через фильтровальную ткань под действием вакуума и отводится в емкость. На ткани остается слой осадка
Выход из суспензии
Вакуум удаляет остатки фильтрата из осадка
Первые две операции выполняются под воздействием вакуума, когда разряжение помогает в удалении воды, поэтому высушивание происходит намного быстрее. Жидкость выводится по трубопроводу вакуумной линии. Удаление обезвоженного осадка с ткани осуществляется скребковыми механизмами и при помощи направленного сжатого воздушного потока. Регенерация фильтрующего полотна производится промывкой чистой водой и обдувкой сжатым воздухом, чтобы удалить максимум налипаний
Промывка
Осадок промывается и обезвоживается, воздух и влага отводятся через штуцер
Рыхление осадка
Осадок счищается ножом или другим приспособлением
Чтобы нагнетательный агрегат работал эффективно, необходимо обеспечить чистый воздух на входе, для этого используются фильтры
Конструкция фильтров обычно схожа, различия заключаются в материале, из которого они изготовлены. Корпус фильтра делают из прочного материала, чтобы снизить вес: пластик или композитные материалы (если изделие не будет подвергаться воздействию агрессивных химических веществ). В особых условиях, например, при работе с агрессивными химическими веществами, применяют корпуса из нержавеющей стали

Фильтрующее устройство неприхотливо во время эксплуатации: нужно только промывать фильтр через определенные часы наработки или менять фильтрующий элемент по срокам использования.

