Сделаем проверочный расчет производительности, разработаем проект и пройдем с вами все этапы реализации проекта
Группа компаний «ГЕОН» — российская инжиниринговая компания, предоставляющая полный цикл услуг в области проектирования, производства и монтажа очистных сооружений сточных вод. С 2014 года компания успешно реализует проекты по всей территории России и стран СНГ
Основные направления деятельности «ГЕОН»:
«ГЕОН» предлагает комплексные решения для промышленных, муниципальных и коммерческих объектов
Не нашли что искали? Заполняйте небольшую форму по кнопке ниже и наши специалисты свяжутся с вами для подбора оптимального решения!
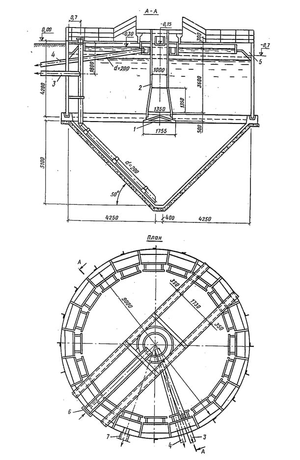
Вертикальные отстойники — это важный элемент в системах управления водными ресурсами, обеспечивающий эффективное разделение твердых частиц и жидкости
Наши чертежи включают детализированные схемы и технические характеристики, что позволит вам лучше понять конструкцию и принцип действия этих систем. Мы уверены, что наши разработки помогут вам оптимизировать ваши процессы и повысить производительность
Мы предлагаем индивидуальный подход к каждому проекту, адаптируя наши чертежи к вашим специфическим требованиям и условиям эксплуатации. Вся наша документация разрабатывается опытными инженерами с учетом актуальных стандартов и норм, что гарантирует надежность и долговечность ваших установок
Наша команда готова ответить на все ваши вопросы и оказать необходимую поддержку на каждом этапе реализации проекта. Доверяйте профессионалам — выбирайте наши отстойники и получайте полный регламент по эксплуатации, рабочие чертежи и рекомендации по запуску оборудованию для успешного выполнения ваших задач!
Подберем оптимальную модель очистных сооружений в соответствии с техническим заданием, рассчитаем стоимость оборудования, сроки изготовления и доставки, а также предоставим технические характеристики модели
Основные элементы конструкции вертикального отстойника с центральным впуском воды:
Вертикальные отстойники с центральным впуском воды могут быть оборудованы различными дополнительными элементами, такими как системы аэрации, устройства для сбора и удаления плавающих веществ и другие. Конструкция отстойника может варьироваться в зависимости от требований к очистке воды и условий эксплуатации.
Наша компания специализируется на проектировании отстойников, обеспечивая клиентов качественными и надёжными решениями для эффективного водоотведения и очистки сточных вод
Мы разрабатываем индивидуальные проекты отстойников, учитывая все особенности объекта и требования заказчика. Наши специалисты создают детальные чертежи и рабочие схемы, которые облегчают процесс монтажа оборудования
Предоставляя клиентам исчерпывающую техническую документацию, мы гарантируем правильное и грамотное выполнение всех этапов установки. Это позволяет минимизировать риски и обеспечивает долговечность и эффективность работы оборудования
Отстойники с периферийным впуском — это специальные сооружения, предназначенные для очистки и отстаивания сточных вод. Их конструкция включает в себя ряд ключевых элементов и особенностей
Основные элементы конструкции отстойников с периферийным впуском:
Сточная вода поступает в верхнюю часть отстойника и медленно опускается вниз под действием силы тяжести. В процессе движения воды более тяжёлые частицы, такие как песок, ил и другие нерастворимые взвеси, оседают на дно отстойника, где затем могут быть удалены. Более лёгкие примеси, например, жиры и масла, всплывают на поверхность воды
Очищенная вода выводится через нижнюю часть отстойника, обычно через систему перфорированных труб или желобов, расположенных у дна сооружения. Осадок удаляется через специальные устройства, такие как скребки или механические системы, которые перемещают его к выгрузочному отверстию
Регулярная очистка осадка
Осадок, оседающий на дне отстойника, должен регулярно удаляться для предотвращения заиливания и снижения эффективности работы сооружения. Частота очистки зависит от нагрузки на отстойник и состава сточных вод
Контроль уровня воды
Необходимо следить за уровнем воды в отстойнике, чтобы обеспечить равномерное осаждение частиц и предотвратить переполнение. Для этого могут использоваться датчики уровня или визуальные наблюдения
Удаление всплывших примесей
Жиры и масла, всплывающие на поверхность, также должны удаляться для предотвращения загрязнения окружающей среды и снижения качества очищенной воды. Для этого могут быть использованы скребки или другие механические устройства
Обслуживание механических систем
Если в отстойнике используются механические системы для удаления осадка (например, скребки), необходимо проводить их регулярное обслуживание и ремонт. Это включает в себя проверку и замену изношенных деталей, очистку механизмов от загрязнений
Контроль качества очищенной воды
Необходимо регулярно проводить анализ качества очищенной воды для контроля эффективности работы отстойника и соблюдения нормативов по сбросу сточных вод в окружающую среду
Осмотр и чистка стенок и оборудования
Стенки и оборудование отстойника могут накапливать загрязнения, которые могут повлиять на работу сооружения. Регулярный осмотр и чистка помогают поддерживать эффективность работы отстойника
Мониторинг и контроль параметров работы
Необходимо отслеживать параметры работы отстойника, такие как температура, давление, уровень осадка и т. д., чтобы своевременно выявлять и устранять возможные проблемы
Профилактические ремонты
Регулярные профилактические ремонты помогают предотвратить серьёзные поломки и обеспечить бесперебойную работу отстойника
Подбор оптимальных режимов работы
Необходимо подобрать оптимальные режимы работы отстойника (скорость подачи воды, время пребывания воды в отстойнике и т. п.) для достижения максимальной эффективности очистки
Техническое обслуживание
Важно проводить регулярные проверки и техническое обслуживание оборудования, включая системы удаления осадка и контроля уровня воды, для обеспечения надёжной и эффективной работы отстойника

